您的當前位置:首頁 > 產品知識 > 更多產品知識 > 干式自磨系統——閉路干式自磨系統
作者:紅星機器 發布時間:2017-06-25 16:11:23
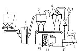
北京某礦有我國第一座采用閉路干式自磨、干式磁選工藝的選礦廠。原礦經粗碎到300~400毫米后,由皮帶運輸機1運至中間礦倉2,借礦石在皮帶運輸上卸落過程中慣性力的作用,粗細礦石產生一定程度的分級,將其分開貯存。然后用電振給礦機3把分別貯存在兩個礦倉中的礦塊按一定比例搭配(即偏析配比),給入自磨機5進行磨碎。
被粉碎的物料在主風機10(主風機的作用是使調節好的空氣流在自磨機和分級機內循環并運輸物料)造成的強大風力作用下被連續排出,沿著管道進入沉降箱6進行第一次分級,較粗的顆粒便沉降下來。細小的物料繼續進入旋風分離器7,進行第二次分級,這時絕大部分細小物料都沉降。已在沉降箱和旋風分離器中沉降的物料靠鎖氣器8間斷排出,貯存在粉礦倉9中,以便進行干式磁選。
未被收集的微細物料在閉路風路系統中循環。閉路系統中主風機出口至磨機入口段,其靜壓值有部分為正壓,粉塵易從這一段逸出。為使主風路系統在負壓條件下工作,防止灰塵溢入室內漫延,減少微細物料和水分在主風路系統中造成惡性循環,設有副風路系統。副風路系統設在主風機與自磨機之間,由文氏管11洗滌器12及輔風機13組成。經副鳳路系統凈化后的氣流排于大氣中。




按自磨過程中是否添加金屬磨碎介質分,可分為全自磨和半自磨。全自磨時不添加金屬磨碎介質。半自磨時添加少量的鋼球,以彌補礦石中粗粒級的不足和用以研磨難磨粒級。在一段和兩段自磨流程中,均有采用此種方法的,它對強化自磨過程起著顯著的作用。
對于難磨粒級的處理方法,除了可采用半自磨外還有三種。一種方法是閉路循環,但易形成難磨粒級的累積,造成自磨機生產能力的降低。第二種方法是將難磨粒級從自磨機中引出,將其破碎到!" 毫米以下后再返回自磨機,它對處理致密而堅硬的礦石很有效。第三種方法是在自磨機的排礦格子板上開設礫石窗,將難磨粒級排出作為下段礫磨機的礫介。
自磨回路中分級作業有三種形式。第一種是開路方式,自磨的產物不返回,直接進下段作業處理。第二種為閉路方式,自磨的產物經分級后,不合格產物全部返回再磨。第三種為半閉路方式,即自磨產物經分級選別后,不合格產物部分返回再磨。
本篇內容于 2017-06-25 16:11:23 已補充更新下一篇:干式自磨系統——風路系統的分類
如果您想了解我們的產品,可以隨時撥打我公司的銷售熱線或點擊咨詢!![]()
推薦閱讀
TOP169鄂破機價格及型號參數鄂破機
TOP257鄂破機一小時能產多少噸物料鄂破機
TOP3時產1000噸石料生產線設備有哪些?多少錢?石料生產線價格
TOP4140圓錐破時產多少石子圓錐破 圓錐破碎機
TOP5小型碎沙機多少錢一臺?碎石機
TOP6一套碎石機大概需要多少錢碎石機
TOP7生產雷蒙磨粉機(雷蒙磨)的廠家磨粉機
TOP8每小時產200噸的石子破碎機多少錢一臺?破碎機
TOP969破碎機一小時處理多少立方石子?破碎機 69顎式破碎機
TOP101060顎破型號有哪些?什么價?顎破 顎式破碎機
TOP11時產500噸石子生產線配置方案_廠家報價生產線
TOP12銷量較好的雷蒙磨粉機型號有哪些雷蒙磨粉機
換一換 ![]()
想讓資深工程師為您設計生產方案?想獲取全套設備優惠報價單?請留言,專業經理即刻開始為您一對一服務!(不用擔心信息泄露,我們將為客戶提供信息保密服務!)
來廠考察即可獲取資深工程師為您設計方案
多機型現貨可選,簽訂合同,2天內發出
售后團隊親臨現場,指導設備安裝、試車,完成交付
跟蹤砂場運營情況,提供生產運營指導,保障砂場快速盈利
河南紅星礦山機器有限公司 總部地址:中國鄭州高新技術產業開發區檀香路8號
工程師免費設計方案已有162位獲得心儀的方案
算一算 搭配一條合適的生產線需要多少錢?
點擊獲取報價