


某銅選廠主要冶煉工藝為精礦富氧底吹熔池熔煉,銅锍PS轉爐吹煉,粗銅回轉陽極爐火法精煉,陽極銅電解精煉。銅渣主要為熔煉渣、吹煉渣,在后續的銅渣...
話題:選礦2016-01-27

由于某廠煅燒煙煤需外購,無疑增加了投資費用,為了降低生產成本,該廠考慮采用本地無煙煤煅燒方式。由于無煙煤在該廠回轉窯應用上存在諸多不適應性,...
話題:回轉窯2016-01-26

某鉛鋅選礦廠原設計生產能力為50萬噸/年,實際生產中高達75萬噸/年,超過預期一半,這主要歸功于該選廠的設計工藝及設備的合理應用。選廠共產出...
話題:選礦2016-01-23

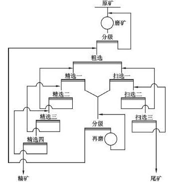
銅鉛鋅礦我國資源豐富,同時應用也較廣泛,因此,其加工的合理化受到極大的重視。隨著開采的深入,原礦品位的逐年下降是必然的,銅鉛氧化率和難選礦石...
話題:選礦2016-01-21


單段錘式破碎機是應用較廣泛的破碎設備,它是由慢速錘式破碎機和快速錘式破碎機發展而來,將兩者優點結合于一體,具有入料大、出料小、電耗低等優點,...
話題:錘式破碎機2016-01-16

能耗是球磨機成本消耗的主要部分,因此,各制造商一直致力于打造節能型球磨機,以提高整機性能。紅星機器通過結合國內外成熟技術和成功案例,采用三大...
話題:球磨機2016-01-14

某鉬選廠選鉬的能力較低,鉬精礦回收率也一直不達標,造成了嚴重的資源浪費。查找其原因,主要在于粗選階段存在一些問題。通過深入的分析之后,該選廠...
話題:選礦2016-01-12


高能圓錐破碎機是紅星機器結合國內外成熟技術研發的一款高能效率高礦石中細碎設備,它是傳統圓錐破碎機的升級版,在結構和機械性能上有了一系列較大的...
話題:圓錐破碎機2016-01-07


某公司以生產鉛鋅礦為主,擁有會澤礦業、彝良馳宏兩個礦業,為近幾年建成,在選礦設備的選型上,充分借鑒了行業選礦設備革新成果,在設備的選型了少走...
話題:選礦2015-12-22

某銅選廠位于3km遠,高出采場175m的地表,考慮到礦石運輸的繁雜及運輸成本的投資較高,該選廠經過認真思考研究,后設計采用了一套可降低成本的...
話題:破碎2015-12-17

某銅鉬礦礦石性質較復雜,為合理有效的回收銅資源,該廠通過分析礦石性質,提出了兩種選銅工藝,并進行了具體的試驗對比,選定出較好的選銅方案,經實...
話題:工藝2015-12-15

降低能耗是個選礦廠亙古不變的話題,也成為選礦廠及制造商孜孜不倦研究的方向。經紅星機器研究,降低破碎及磨礦工藝中能耗消耗,從降低破碎產品粒度和...
話題:破碎2015-12-12

隨著黃金價格的不斷下調,金礦選礦廠的生產效益不斷走向低谷。為提高金礦選礦生產效益,降低選礦成本是較有效的途徑。為實現這一目標,某選礦廠先后兩...
話題:選礦2015-12-08


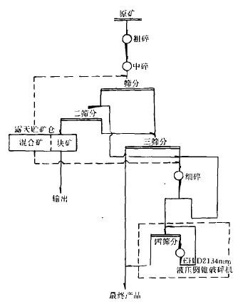
某銅礦選礦廠碎礦系統生產能力較低,只有4613t/d,運行時間卻長達18.35h/d,距設計生產能力6000t/d、運行時間18h/d相差甚...
話題:碎礦2015-12-03

某耐火材料廠采用的硬質粘土較脆,采裝和運輸過程中會產生大量的粉礦,后期如果采用豎窯煅燒,將無法將粉礦煅燒徹底,這勢必會造成資源的浪費。于是,...
話題:回轉窯2015-12-01



某金剛石礦所含的礦物種類較多,其中金剛石含量比較低,某選礦廠考察發現采用單一浮選、重選、磁選、化學選礦方案及簡單的組合都難以達到目的。經過對...
話題:選礦2015-11-24


某銅選廠在選礦期間一直存在碎礦能力不足,浮選時間不足的問題,導致選礦回收率低、能耗高、經濟效益差。為此,該選廠分別對碎礦系統和浮選系統進行了...
話題:浮選2015-11-18

為解決尾礦輸送問題,減輕跑槽對浮選作業帶來的危害,根據現場實際可利用空間,在浮選機下層平臺增設2臺100RM-400型泡沫泵,用于老車間2次...
話題:浮選2015-11-16

某銅礦選礦廠處理的礦石為硫化銅礦,礦石氧化率、含泥量較高,原礦破碎設計流程為預先篩分、三段開路流程。生產期間經常出現漏斗堵塞,皮帶機往下滑礦...
話題:碎礦2015-11-13

硅灰石屬天然鈣質硅酸鹽,在塑料、絕緣材料、顏料、船舶隔板、填縫、剎車片、電焊條焊劑和金屬鑄件等方面均有較好的應用。我國硅灰石含量極為豐富,富...
話題:選礦2015-11-11

某燒結廠破碎系統原采用三段破碎,為提高生產能力,該廠新增設了一段篩分——破碎系統,作為第四段破碎。新系統投產后,綜合經濟效益不進則退,令該廠...
話題:破碎2015-11-09

硅灰石是一種新型的工業礦物,在陶瓷、塑料、橡膠等諸多領域均有較好的應用。我們都知道,硅灰石在應用之前,需先進行選礦處理,而不同礦石類型的物質...
話題:選礦2015-11-06

某水泥廠粉磨系統是由雷蒙磨粉機和球磨機組成的聯合系統,在正式投入生產之前,該廠對該粉磨系統進行了調試,調試過程中發現了雷蒙磨粉機存在的一些問...
話題:粉磨2015-11-04

烘干時制取膨脹珍珠巖的重要環節,烘干工藝的設計是否合理直接影響產品質量。通過對傳統的珍珠巖烘干工藝分析可知,傳統的烘干工藝存在諸多問題,因此...
話題:烘干2015-10-30

高嶺土在現實生活中應用極為廣泛,評價其工藝性能主要是看高嶺土的白度。而高嶺土中常含有鐵礦物質,如赤鐵礦、菱鐵礦、黃鐵礦等,這些鐵礦物質在煅燒...
話題:磁選機2015-10-28

作為選礦系統的主要設備,球磨機一旦出現問題,便會大大影響整條線的生產能力。某選礦廠就是因為球磨機在生產過程中經常出現出料端漏礦的問題,進而造...
話題:球磨機2015-10-26

目前,國內常見的水泥粉磨工藝包括開路粉磨和帶有選粉機的閉路循環粉磨系統,而這兩類系統的能耗均不低,尤其是開路粉磨系統,能耗高達38. 8千瓦...
話題:粉磨2015-10-22

某銅選廠日處理量為1200t,起初該生產能力還能夠滿足工業需要,但隨著銅原料需求量的增加,該廠不得不采取一些措施來提高生產能力。慎重考慮之后...
話題:破碎2015-10-19

濕法回轉窯因其產品質量穩定,生產操作簡單一直受到廣大用戶的青睞,但同樣存在著能耗高的缺陷。目前,針對能耗高做出的技術改造分為三種方式,第一種...
話題:回轉窯2015-10-16

為了提高液壓圓錐破碎機使用的連續性和穩定性,應該全面分析液壓圓錐破碎機的各類故障,探尋各類故障排除的技術措施與方法,形成液壓圓錐破碎機規范使...
話題:圓錐破碎機2015-09-15

礦山機械一般都搭建在深山、河邊等地區,會遇到較多的特殊情況,對其安全性的要求也就更高,所以,讓設備可靠安全運行就及為重要,下面講講讓礦山機械...
話題:礦山機械設備2015-07-31
河南紅星礦山機器有限公司 總部地址:中國鄭州高新技術產業開發區檀香路8號
工程師免費設計方案已有162位獲得心儀的方案
算一算 搭配一條合適的生產線需要多少錢?
點擊獲取報價